一、该问题的重现步骤是什么?
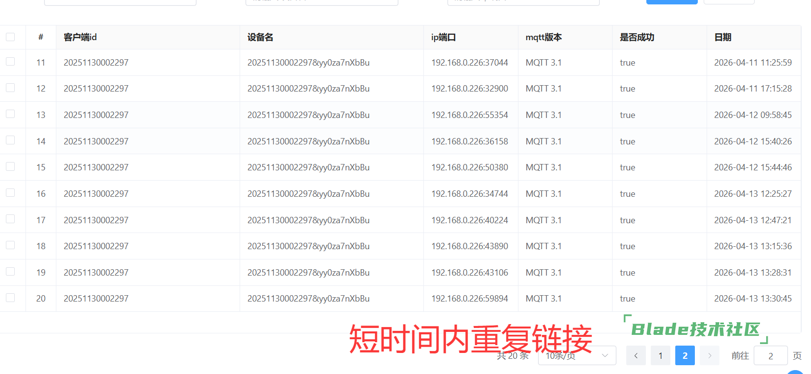
1. 更新版本Bladex物联网v2.3.0并开启集群后,有些设备无法正常链接,看认证记录在重复认证。
2. 认证结果是true,但实际状态是离线,并且在mqtt客户端无法查找该设备。
3.听AI用nginx的方式集群了。
4.就是90%设备是正常的。但是出现10%无法正常链接的设备。 我们设备连接数大概是200-300台
二、你期待的结果是什么?实际看到的又是什么?
设备正常上线。状态在线的情况。
三、你正在使用的是什么产品,什么版本?在什么操作系统上?
Bladex物联网v2.3.0版本在linux ubuntu 22.04系统上。
出问题的设备 协议名称是 MQIsdp 版本3 心跳40 大部分都是这种设备出问题,但是这种设备80%都是正常。
四、请提供详细的错误堆栈信息,这很重要。
无
五、若有更多详细信息,请在下面提供。



因为我们是域名链接mqtt,但我们又想搞集群模式。只好在对应的主机用nginx这样分配链接,不知道可不可行。
扫一扫访问 Blade技术社区 移动端